closures
the set of all regular languages are closed under three operations – meaning that the results after the operation will still be in the same set – union, concatenation, and star.
theorem: the set of regular languages is closed under the regular operations.
union
if $A$ and $B$ are regular languages, then $A \cup B$ is also regular. this new regular language $C$ recognizes strings that are either in $A$ or in $B$.
we can construct a machine $N$ where $L(N) = L(N_1) \cup L(N_2)$ from two machines $N_1$ and $N_2$ like this:
- draw the state diagram of $N_1$ on the top half
- draw the state diagram of $N_2$ on the bottom half
- add $\epsilon$ transitions from the new start state to the start states of $N_1$ and $N_2$ respectively.
it looks like this:

you might noticed the strange diagram. it might look complicated, but it is simply an abstraction; each rounded box, or “bubble”, is a finite automaton; inside the box there are the all the states and transitions.
by abstracting away the detail in the automaton, it helps us to visualize the operations better.
concatenation
if $A$ and $B$ are regular languages, then $A \circ B$ (concatenation) is regular too. this new language recognizes strings that start with something in $A$ and end with something from $B$.
to construct the concatenation, we
- draw $A$ on the left and $B$ on the right
- for each accept state in $A$, add an $\epsilon$ transition pointing to the start state of $B$.
- change all the accept states of $A$ to regular non-accept state.
it looks like this:

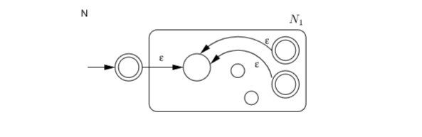
star operation
if $A$ is regular, $A$ is also regular. the star operation recognizes $\epsilon$ or any number of strings from $A$. to construct $A$:
- draw the automaton of $A$.
- add a new start state and make it an accept state.
- add $\epsilon$ from the new start state to the original start state of $A$
- for each original accept state of $A$, add $\epsilon$ transition to the original start state of $A$.
it looks like this:
